Honda propone una dirección automática para motos

Con el objetivo de mejorar la seguridad, Honda esta desarrollando un sistema de dirección automática para motos.

Honda propone una dirección automática para motos

Honda propone una dirección automática para motos

La seguridad es una de las mayores preocupaciones a la hora del desarrollo de una motocicleta y más para una gran marca como Honda. Dentro de ese apartado, la Fábrica del Ala Dorada se encuentra desarrollando un sistema de dirección automática que espera poder llevar a un mayor nivel la prevención de accidentes a todos sus usuarios.

¿De qué se trata?

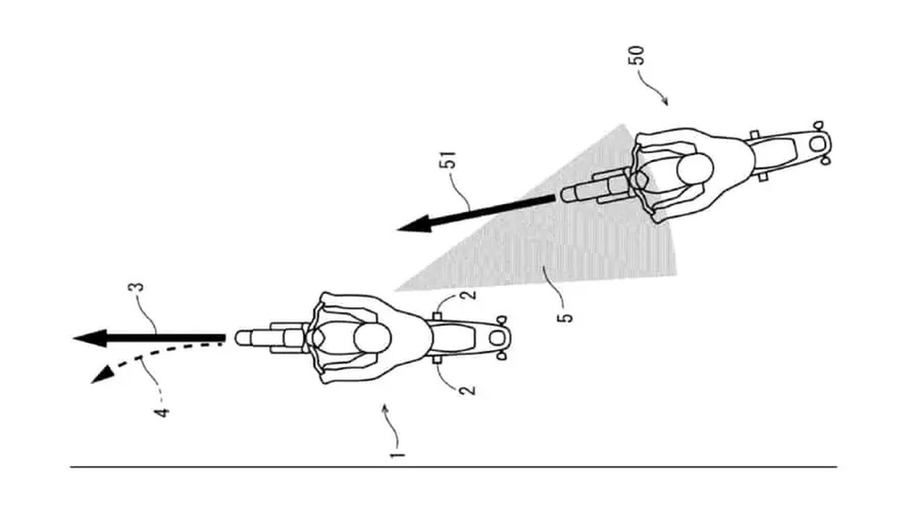
Las patentes recientemente registradas por Honda postulan el desarrollo de un control de dirección automática, parecido al visto en la industria automotriz, que corrige la trayectoria de la moto si detecta algún peligro.

Pero, ¿cómo funcionaría? Las imágenes filtradas indican que sería mediante cámaras y radares situados tanto en el eje delantero como en el trasero del modelo. Asimismo, el mecanismo actuaría sobre la dirección mediante un motor eléctrico que mueve la misma según por donde venga el peligro detectado. De esta manera se prevendrían los famosos «ángulos muertos» que tantos accidentes provocan.

El dispositivo no tomaría completamente el control de la moto, sino simplemente corregir la dirección el tiempo suficiente para prevenir una posible colisión o contacto con otro vehículo.

NOTA RELACIONADA:  Se vienen dos nuevas Royal Enfield Himalayan

Perdida de esencia

La cuestión a aplicar por parte de Honda en este mecanismo son las diferencias que se tienen con sus homólogos del automovilismo. En una moto, la dirección afecta a diferentes parámetros como la estabilidad y el ángulo de inclinación. Para empezar a contestar eso, las patentes interpretan que el sistema se desconecta si detecta que el conductor quiere controlar la moto. Por otro lado, el motor eléctrico no ejerce una fuerza que impida contrarrestar su efecto por parte del piloto.

Quizás el punto a debatir más importante de este dispositivo es si modifica la esencia de la «conducción libre». Lo intrusivo del sistema es complicado de inferir a partir de las patentes y suponemos que es una cuestión a debatir dentro de la empresa del ala dorada.

Solo el tiempo dirá si es aplicable o no. Lo cierto es que la tecnología avanza y cada vez veremos una mayor cantidad de equipamiento dedicado a la seguridad de conducción.

Fuente/s: Exclusivo Motos

Fuente/s: Exclusivo Motos